Материал: скоба и винт изготовлены из высокопрочной стали, Класс 6, с закалкой и отпуском.
Запас прочности: MBL равен 6 x WLL
Стандарт: EN 13889 и согласно требованиям US Fed. Spec. RR-C-271 Type IVA Class 2, Grade A
Конечная обработка: горячая гальванизация (цинкование)
Температурный диапазон: от -20 °C до +200 °C
Сертификаты: без предварительного запроса изделие сопровождается Рабочим Сертификатом, Сертификатом на материал из которого изготовлено изделие, Тест-сертификатом производителя и/или Декларацией Соответствия ЕС.
Материал: скоба и винт изготовлены из высокопрочной стали, Класс 6, с закалкой и отпуском.
Запас прочности: MBL равен 6 x WLL
Стандарт: EN 13889 и согласно требованиям US Fed. Spec. RR-C-271 Type IVA Class 2, Grade A
Конечная обработка: горячая гальванизация (цинкование)
Температурный диапазон: от -20 °C до +200 °C
Сертификаты: без предварительного запроса изделие сопровождается Рабочим Сертификатом, Сертификатом на материал из которого изготовлено изделие, Тест-сертификатом производителя и/или Декларацией Соответствия ЕС.
|
Предельная рабочая нагрузка
|
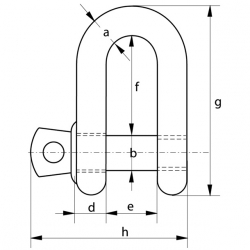
Диаметр скобы
|
Диаметр болта
|
Диаметр отверстия
|
Ширина отверстия
|
Ширина внутренняя
|
Длина внутренняя
|
Длина
|
Длина болта
|
Вес одного изделия
|
|
тн
|
а
мм
|
b
мм
|
с
мм
|
d
мм
|
е
мм
|
f
мм
|
g
мм
|
h
мм
|
кг
|
|
0.33
|
5
|
6
|
12
|
5
|
9.5
|
19
|
33
|
29.5
|
0.02
|
|
0.5
|
7
|
8
|
16.5
|
7
|
12
|
22
|
41.5
|
38
|
0.05
|
|
0.75
|
9
|
10
|
20
|
9
|
13.5
|
26
|
50
|
46.5
|
0.09
|
|
1
|
10
|
11
|
22.5
|
10
|
17
|
32
|
59
|
54
|
0.14
|
|
1.5
|
11
|
13
|
26.5
|
11
|
19
|
37
|
68
|
59.5
|
0.19
|
|
2
|
13.5
|
16
|
34
|
13
|
22
|
43
|
81
|
73
|
0.32
|
|
3.25
|
16
|
19
|
40
|
16
|
27
|
51
|
97
|
89
|
0.54
|
|
4.75
|
19
|
22
|
46
|
19
|
31
|
59
|
112
|
103
|
0.87
|
|
6.5
|
22
|
25
|
52
|
22
|
36
|
73
|
134
|
119
|
1.34
|
|
8.5
|
25
|
28
|
59
|
25
|
43
|
85
|
154
|
137
|
2.08
|
|
9.5
|
28
|
32
|
66
|
28
|
47
|
90
|
167
|
153
|
2.77
|
|
12
|
32
|
35
|
72
|
32
|
51
|
94
|
180
|
170
|
3.72
|
|
13.5
|
35
|
38
|
80
|
35
|
57
|
115
|
209
|
186
|
5.14
|
|
17
|
38
|
42
|
88
|
38
|
60
|
127
|
230
|
203
|
6.85
|
|
25
|
45
|
50
|
103
|
45
|
74
|
149
|
271
|
243
|
11.45
|
|
35
|
50
|
57
|
111
|
50
|
83
|
171
|
305
|
272
|
16.86
|
|
42.5
|
57
|
65
|
130
|
57
|
95
|
190
|
345
|
310
|
24.61
|
|
55
|
65
|
70
|
145
|
65
|
105
|
203
|
376
|
344
|
32.65
|