Скобы рыболовные P-3754

Производитель:

Материал: малоуглеродистая сталь
Запас прочности: MBL равен 5 x WLL
Конечная обработка: покрашена в синий цвет

  • Скобы рыболовные P-3754 - пустой
  • Скобы рыболовные P-3754 - пустой

Производитель:

Материал: малоуглеродистая сталь
Запас прочности: MBL равен 5 x WLL
Конечная обработка: покрашена в синий цвет

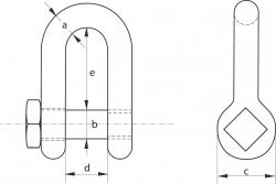
Диапазон рабочего усилия
Толщина скобы
Диаметр болта
Диаметр отверстия
Ширина внутренняя
Длина внутренняя
Вес одного изделия
тн
a
мм
b
мм
c
мм
d
мм
e
мм
кг
1.5
2.5
3
13
16
20
16
20
22
32
40
48
25
32
38
48
64
75
0.36
0.69
1.18
4
5
6.5
22
25
28
25
28
32
53
60
67
44
51
56
83
100
104
1.61
2.35
3.22
8
9
32
36
36
38
71
76
64
70
120
131
4.63
5.96



Другие товары в этой категории: