Домкрат стальной Pfaff-Silberblau STW-V в соответствии с DIN 7355

Производитель:

Грузоподъемность от 3000 до 10000 кг

Ручные домкраты механические серии STW-V компании Pfaff-Silberblau с регулируемым шагом подъема - наиболее качественные ручные домкраты из всех серий с грузоподъемностью от 3000 до 10000 кг.

Удобство в работе с механическими домкратами серии STW-V обеспечивается регулируемым подвижным когтем и кривошипной ручкой.

  • Домкрат стальной Pfaff-Silberblau STW-V в соответствии с DIN 7355 - Стальные и реечные домкраты
  • Домкрат стальной Pfaff-Silberblau STW-V в соответствии с DIN 7355 - Стальные и реечные домкраты

Производитель:

Грузоподъемность от 3000 до 10000 кг

Ручные домкраты механические серии STW-V компании Pfaff-Silberblau с регулируемым шагом подъема - наиболее качественные ручные домкраты из всех серий с грузоподъемностью от 3000 до 10000 кг.

Удобство в работе с механическими домкратами серии STW-V обеспечивается регулируемым подвижным когтем и кривошипной ручкой.

Ручка домкрата
Г/п
кг
Высота
мм
Подъем
мм
Вес
кг
Sifeku
Siku
Raku
30008133
30008001
30008028
3000
720
350
25
30009156
30009008
30009016
5000
720
300
30
-
30010006
30010014
10000
792
300
48

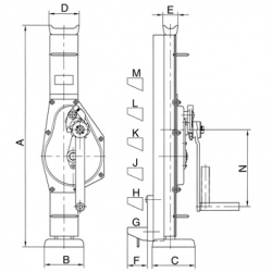
Ручка домкрата
A
мм
B
мм
C
мм
D
мм
E
мм
F
мм
G
мм
H
мм
J
мм
K
мм
L
мм
M
мм
N
мм
Sifeku
Siku
Raku
30008133
30008001
30008028
720 130 140 100 50 65 69 166 263 360 457 554 250
30009156
30009008
30009016
720 145 155 110 68 65 62 159 256 353 450 547 250
-
30010006
30010014
792 145 155 125 80 70 85 191 297 403 509 615 300



Другие товары в этой категории: