Специальный захват CrosbyIP CCPG для труб

Производитель:

Грузоподъемность от 204 до 3175 кг

  • Подвижные аутригеры помогают стабилизировать напряжение.
  • Блокировка груза не требуется.
  • Каждый продукт проходит двойное Индивидуальное тестирование на WLL (предельную рабочую нагрузку), что удостоверяется Свидетельством. 
  • Используется со множеством различных типов материала, включая:
    - Чугун / Сталь
    - ПВХ
    - С900
    - Пластичные металлы
    - Цементные трубы
  • Окончательная обработка – Окрашено в красный цвет
  • Доступна замена резиновых накладок.

  • Специальный захват CrosbyIP CCPG для труб - Захваты для подъема труб
  • Специальный захват CrosbyIP CCPG для труб - Захваты для подъема труб
  • Специальный захват CrosbyIP CCPG для труб - Захваты для подъема труб

Производитель:

Грузоподъемность от 204 до 3175 кг

  • Подвижные аутригеры помогают стабилизировать напряжение.
  • Блокировка груза не требуется.
  • Каждый продукт проходит двойное Индивидуальное тестирование на WLL (предельную рабочую нагрузку), что удостоверяется Свидетельством. 
  • Используется со множеством различных типов материала, включая:
    - Чугун / Сталь
    - ПВХ
    - С900
    - Пластичные металлы
    - Цементные трубы
  • Окончательная обработка – Окрашено в красный цвет
  • Доступна замена резиновых накладок.

Модель
Артикул
Предел. допуст. нагрузка
кг
Труба O.D.
мм
Вес
кг
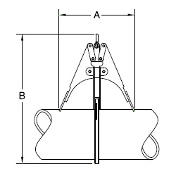
Размер в мм
A B C
CCPG-900. Для чугунной трубы: C-900, C-905, Bluestripe C-906, ПВХ Certa-Lok
C-3 2730000 204 102 4.54 127 254 152
C-4 2730009 272 122 4.99 203 356 178
C-6 2730018 454  175 6.80 279 432 279
C-8 2730027 635 230 11.3 330 559 356
C-10 2730036 907 282 21.8 381 686 432
C-12 2730045 1134 335 32.7 457 813 508
C-14 2730054 1588 389 47.6 559 965 584
C-16 2730063 1814 442 59.0 610 1067 635
C-18 2730072 2268 495 77.1 660 1143 711
C-20 2730081 2948 549 95.3 711 1270 813
C-24 2730090 3175 655 102 787 1473 889
CCPG-200. Для стальной трубы: Класс 200 SDR, Yellowmine, ПВХ 40, 80 и 120
S-3 2731000 204 88.9 4.54 127 254 152
S-4 2731009 272 114 4.99 203 356 178
S-6 2731018 454 168 6.80 279 432 279
S-8 2731027 635 219 11.3 330 559 356
S-10 2731036 907 273 21.8 381 686 432
S-12 2731045 1134 324 32.7 457 813 508
S-14 2731054 1588 356 47.6 559 965 584
S-16 2731063 1814 406 59.0 610 1067 635
S-18 2731072 2268 457 77.1 660 1143 711
S-20 2731081 2948 508 95.3 711 1270 813
S-24 2731090 3175 610 102 787 1473 889



Другие товары в этой категории: