Горизонтальный захват CrosbyIP IPH10

Производитель:

Грузоподъемность 0.5 - 12 тонн

Горизонтальные зажимы IPH10 позволяют использовать его для горизонтального подъема и транспортировки непровисающих материалов. Эти зажимы должны использоваться в парах или большем количестве.

  • Продукция изготовлена из сварного сплава металла для большей прочности и меньшего размера. При необходимости, могут использоваться для компонентов кованный сплав.
  • Каждый продукт проходит двойное Индивидуальное тестирование на WLL (предельную рабочую нагрузку), что удостоверяется Свидетельством.
  • Название (CrosbyIP), логотип, WLL и открытие челюсти - всегда отпечатывается на продукте.
  • Каждый продукт имеет индивидуальный серийный номер и дату теста проверки грузоподъемности, отпечатанной на металле. Регистрационный номер включен в свидетельство об испытании, сертификат техобслуживания и гарантийный журнал.
  • Доступна техобслуживание замены частей.
  • Соответствует ISO 9001.

  • Горизонтальный захват CrosbyIP IPH10 - Горизонтальные захваты
  • Горизонтальный захват CrosbyIP IPH10 - Горизонтальные захваты
  • Горизонтальный захват CrosbyIP IPH10 - Горизонтальные захваты
  • Горизонтальный захват CrosbyIP IPH10 - Горизонтальные захваты
  • Горизонтальный захват CrosbyIP IPH10 - Горизонтальные захваты

Производитель:

Грузоподъемность 0.5 - 12 тонн

Горизонтальные зажимы IPH10 позволяют использовать его для горизонтального подъема и транспортировки непровисающих материалов. Эти зажимы должны использоваться в парах или большем количестве.

  • Продукция изготовлена из сварного сплава металла для большей прочности и меньшего размера. При необходимости, могут использоваться для компонентов кованный сплав.
  • Каждый продукт проходит двойное Индивидуальное тестирование на WLL (предельную рабочую нагрузку), что удостоверяется Свидетельством.
  • Название (CrosbyIP), логотип, WLL и открытие челюсти - всегда отпечатывается на продукте.
  • Каждый продукт имеет индивидуальный серийный номер и дату теста проверки грузоподъемности, отпечатанной на металле. Регистрационный номер включен в свидетельство об испытании, сертификат техобслуживания и гарантийный журнал.
  • Доступна техобслуживание замены частей.
  • Соответствует ISO 9001.

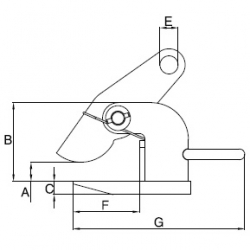
Модель Предельная допус. нагрузка
т*
Артикул Вес
кг
Размеры в мм
Зев A B C E F G H J K
IPH10 0.5+ 2703297 1.8 0 - 20 86 12 16 103 150 60 12 27
IPH10 1+ 2703298 2.5 0 - 35 100 16 16 103 150 60 12 31
IPH10 2 2703522 5.5 0 - 60 117 16 22 109 256 110 20 40
IPH10 3 2703523 7.5 0 - 60 117 20 26 109 266 120 20 48
IPH10 4.5 2703524 10.5 0 - 60 132 25 30 104 280 130 20 48
IPH10 6 2703525 13.0 0 - 60 143 25 36 123 320 130 20 48
IPH10 9 2703526 18.5 0 - 60 157 30 43 133 330 140 25 62
IPH10 12 2703527 21.5 0 - 60 172 30 47 141 353 150 25 62

* Соответствует стандартам EN 13155 и ASME B30.20.



Другие товары в этой категории: