Материал: Полка: Термообработанная высокопрочная сталь SAE 1045. U-болт: SAE 1015.
Стандарт: EN 13411-5 Тип B. Соответствует требованиям US Fed.Spec. FF-C-450D.
Конечная обработка: Гальванизация (цинкование), гайки для скобы диаметром 5 и 6 мм электро-гальванизированы.
Сертификат: Изделие сопровождается Рабочим Сертификатом.
Материал: Полка: Термообработанная высокопрочная сталь SAE 1045. U-болт: SAE 1015.
Стандарт: EN 13411-5 Тип B. Соответствует требованиям US Fed.Spec. FF-C-450D.
Конечная обработка: Гальванизация (цинкование), гайки для скобы диаметром 5 и 6 мм электро-гальванизированы.
Сертификат: Изделие сопровождается Рабочим Сертификатом.
|
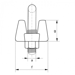
Диаметр каната
|
Диамет U-болта
|
Длина U-болта
|
Ширина U-болта
|
Длина резьба
|
Длина полки
|
Толщина полки
|
Высота полки
|
Вес 100 шт.
|
|
мм |
а
мм
|
b
мм
|
с
мм
|
d
мм
|
е
мм
|
f
мм
|
g
мм
|
кг |
| 4 |
5
|
24
|
12
|
11
|
24
|
21
|
10
|
2
|
| 5 |
6
|
31
|
15
|
13
|
29
|
24
|
13
|
4
|
| 7 |
8
|
34
|
19
|
13
|
37
|
30
|
18
|
8
|
| 8 |
10
|
45
|
22
|
19
|
43
|
33
|
19
|
14
|
| 10 |
11
|
49
|
26
|
19
|
49
|
42
|
25
|
19
|
| 11 |
12
|
60
|
30
|
25
|
58
|
46
|
26
|
31
|
| 13 |
13
|
61
|
30
|
25
|
58
|
48
|
31
|
34
|
| 15 |
14
|
72
|
33
|
32
|
63
|
52
|
31
|
36
|
| 16 |
14
|
74
|
33
|
32
|
64
|
54
|
36
|
45
|
| 20 |
16
|
86
|
38
|
37
|
72
|
57
|
37
|
68
|
| 22 |
19
|
98
|
45
|
41
|
80
|
61
|
40
|
108
|
| 26 |
19
|
108
|
48
|
46
|
88
|
67
|
47
|
113
|
| 30 |
19
|
117
|
51
|
51
|
91
|
73
|
48
|
140
|
| 34 |
22
|
130
|
59
|
54
|
105
|
79
|
56
|
207
|
| 36 |
22
|
140
|
60
|
59
|
108
|
79
|
58
|
134
|
| 40 |
22
|
147
|
66
|
60
|
112
|
85
|
64
|
266
|
| 42 |
25
|
161
|
70
|
67
|
121
|
91
|
67
|
329
|
| 46 |
29
|
174
|
78
|
70
|
134
|
97
|
76
|
441
|
| 52 |
32
|
195
|
86
|
78
|
150
|
113
|
85
|
603
|
| 58 |
32
|
213
|
98
|
81
|
162
|
116
|
100
|
707
|
| 64 |
32
|
227
|
105
|
87
|
168
|
119
|
113
|
809
|
| 72 |
32
|
243
|
112
|
91
|
174
|
127
|
124
|
1000
|
| 78 |
38
|
271
|
121
|
98
|
194
|
135
|
136
|
1440
|