Шплинт пружинный Green Pin E-7931 (Двойной тип)

Производитель:

Материал: Малоуглеродистая сталь

 

Конечная обработка: Электро-гальванизация

  • Шплинт пружинный Green Pin E-7931 - Шплинты для скоб
  • Шплинт пружинный Green Pin E-7931 - Шплинты для скоб
  • Шплинт пружинный Green Pin E-7931 - Шплинты для скоб

Производитель:

Материал: Малоуглеродистая сталь

 

Конечная обработка: Электро-гальванизация

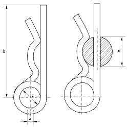
Диаметр Длина Диаметр Диаметр Вес, 100 шт
a
мм
b
мм
c
мм
d
мм
кг
2 50  10  8 - 14  0,4
3 62  16  14 - 20  1,4
4 78  23  17 - 24  3
5 92  26  18 - 30  5,3
6 120  30  24 - 36  9,6
7 130  30  24 - 40  13,5
7 150  30  45 - 56  13,5
8 130  30  24 - 45  17,8



Другие товары в этой категории: