Цепной рэтчет Green Pin без крюков P-7150R/G

Производитель:

Материал: кованная, литая сталь (класс 8), закаленная, с отпуском.

Запас прочности: MBL равен 3.5 х WLL

Окончательная обработка: окрашены в красный или зеленый цвет

Сертификация: сертификат по запросу

Примечание: используется только для крепления грузов, не разрешается использовать для подъема грузов!

  • Цепной рэтчет Green Pin без крюков P-7150R/G - Системы крепления грузов
  • Цепной рэтчет Green Pin без крюков P-7150R/G - Системы крепления грузов
  • Цепной рэтчет Green Pin без крюков P-7150R/G - Системы крепления грузов

Производитель:

Материал: кованная, литая сталь (класс 8), закаленная, с отпуском.

Запас прочности: MBL равен 3.5 х WLL

Окончательная обработка: окрашены в красный или зеленый цвет

Сертификация: сертификат по запросу

Примечание: используется только для крепления грузов, не разрешается использовать для подъема грузов!

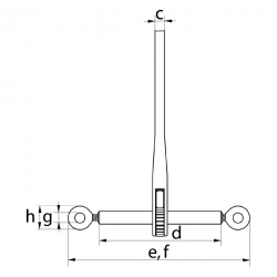
Размер
цепи
Длина Диаметр Толщина Длина
цилиндра
Длина
откр.
Длина
закр.
Диаметр
внут.
отверстия
Диаметр
внеш.
отверстия
Рабочая
часть
Стяг-щее
усилие
Максим.
допуст.
нагрузка
Предел.
рабочая
нагрузка
Вес
 
мм
a
мм
b
мм
c
мм
d
мм
e
мм
f
мм
g
мм
h
мм
 
мм
 
т
 
т
 
т
 
кг
 8 - 10 385 65 15 255 546 385 12 57 161 2,45 4,9 8,62 3,95
 10 - 13 385 65 15 255 555 383 14 57 172 4,175 8,35 14,97 4,75
 13 - 16 385 65 15 260 560 409 17 64 151 5,9 11,8 20,865 6,65



Другие товары в этой категории: