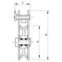
Материал: Углеродистая сталь, оснащены коническими роликовыми подшипниками
Запас прочности: MBL равен 4 x WLL
Конечная обработка: Окрашены
Сертификаты: Изделие сопровождается Сертификатом испытаний
Замечание: Предельная рабочая нагрузка указана на корпусе
|
Предельная рабочая нагрузка
|
Диаметр каната
|
Диаметр наружного шкива
|
Длина
|
Толщина
|
Ширина наружная
|
Вес одного изделия
|
|
тонн
|
мм
|
a
мм
|
b
мм
|
c
мм
|
d
мм
|
кг
|
|
4
8
8
|
10-12
20-22
20-22
|
115
152
203
|
213
305
357
|
83
108
108
|
120
160
210
|
4
9
12
|
|
8
|
20-22
|
245
|
406
|
108
|
260
|
16
|