• Имеется широкий выбор типоразмеров:
• Стандартные и специальные модификации.
• Грузоподъемность: от 8 до 80 тонн; по заказу поставляются изделия с большей грузоподъемностью.
• Диаметр шкивов: от 300 мм до 650 мм.
• Диаметр проволочного каната: от 12 мм до 32 мм.
• Оснащены съемными пальцами для возможности пропускания каната через блок без снятия клиновых зажимов.
• Классификация групп механизмов согласно стандартам DIN , FEM и ISO.
• Все одинарные крюки соответствуют стандарту DIN 15401 (имеются двойные крюки большинства размеров, соответствующие стандарту DIN 15402).
• Расчетный коэффициент надежности 4:1 (если не указано иное).
• Все метрические монтажные блоки Easy Reeve® оснащаются бессепараторными цилиндрическими роликовыми подшипниками с уплотнениями.
• Стандартные направляющие для канатов на всех моделях.
• На всех крюках установлены предохранители Crosby S-4055-DIN.
• Подшипники не требуют смазки.
• Шкивы защищены боковыми предохранительными пластинами.
• Перемещение крюка в двух направлениях (наклон и вращение).
• Запасные части доступны через международную распределительную сеть.
• Все метрические монтажные блоки Easy Reeve® диаметром 400 мм оснащаются шкивами McKissick® Roll-Forged™ с пламенной закалкой желобов.
• Изготавливаются на предприятиях, имеющих сертификаты ISO 9001 и API Q1.
• «Ищите оранжевый крюк – фирменный знак качества McKissick®».
ДОСТУПНЫЕ ОПЦИИ
• Крюки DIN 15402 «бараньи рога».
• Подвесные шарнирные скобы.
• Кожухи шкивов.
• Предохранители повышенной прочности.
• Испытание независимым органом с выдачей сертификата (по запросу).
• Система удержания McKissick® Split-NutTM.
Центральный упор для обеспечения свободного перемещения блока при различных схемах заправки каната.
Плоская боковая пластина для самоудержания при заправке каната.
• Имеется широкий выбор типоразмеров:
• Стандартные и специальные модификации.
• Грузоподъемность: от 8 до 80 тонн; по заказу поставляются изделия с большей грузоподъемностью.
• Диаметр шкивов: от 300 мм до 650 мм.
• Диаметр проволочного каната: от 12 мм до 32 мм.
• Оснащены съемными пальцами для возможности пропускания каната через блок без снятия клиновых зажимов.
• Классификация групп механизмов согласно стандартам DIN , FEM и ISO.
• Все одинарные крюки соответствуют стандарту DIN 15401 (имеются двойные крюки большинства размеров, соответствующие стандарту DIN 15402).
• Расчетный коэффициент надежности 4:1 (если не указано иное).
• Все метрические монтажные блоки Easy Reeve® оснащаются бессепараторными цилиндрическими роликовыми подшипниками с уплотнениями.
• Стандартные направляющие для канатов на всех моделях.
• На всех крюках установлены предохранители Crosby S-4055-DIN.
• Подшипники не требуют смазки.
• Шкивы защищены боковыми предохранительными пластинами.
• Перемещение крюка в двух направлениях (наклон и вращение).
• Запасные части доступны через международную распределительную сеть.
• Все метрические монтажные блоки Easy Reeve® диаметром 400 мм оснащаются шкивами McKissick® Roll-Forged™ с пламенной закалкой желобов.
• Изготавливаются на предприятиях, имеющих сертификаты ISO 9001 и API Q1.
• «Ищите оранжевый крюк – фирменный знак качества McKissick®».
ДОСТУПНЫЕ ОПЦИИ
• Крюки DIN 15402 «бараньи рога».
• Подвесные шарнирные скобы.
• Кожухи шкивов.
• Предохранители повышенной прочности.
• Испытание независимым органом с выдачей сертификата (по запросу).
• Система удержания McKissick® Split-NutTM.
Центральный упор для обеспечения свободного перемещения блока при различных схемах заправки каната.
Плоская боковая пластина для самоудержания при заправке каната.

|
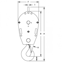
Номер модели
|
№по каталогу для запроса
|
Предел рабочей нагрузки (т)
|
А Общая длина (мм)
|
В
Рабочая длина (мм)
|
Е
Толщина
(мм)
|
F
Ширина
(мм)
|
H
Раствор крюка
(мм)
|
J
Толщина крюка
(мм)
|
К Ширина крюка
(мм)
|
Диаметр стандартного проволочного каната (мм)
|
Упор
|
Вес кажд. (кг)
|
|
|
T
Толщина
(мм)
|
U
Отверстие под палец (мм)
|
||||||||||||
|
8 тонн
|
|||||||||||||
|
ME8S30S1
|
2033000
|
8
|
1008
|
861
|
138
|
392
|
56
|
64
|
53
|
12,13,14,15
|
22
|
44
|
95
|
|
ME8S30W1
|
2033003
|
8
|
1008
|
861
|
240
|
392
|
56
|
64
|
53
|
12,13,14,15
|
22
|
44
|
168
|
|
10 тонн
|
|||||||||||||
|
ME10S35S1
|
2033006
|
10
|
1058
|
911
|
138
|
442
|
56
|
67
|
53
|
14,15,16,17
|
22
|
44
|
108
|
|
ME10S35W1
|
2033009
|
10
|
1058
|
911
|
240
|
442
|
56
|
67
|
53
|
14,15,16,17
|
22
|
44
|
190
|
|
ME10S40S1
|
2033012
|
10
|
1158
|
1011
|
138
|
492
|
56
|
67
|
53
|
17,18,19,20
|
22
|
44
|
132
|
|
ME10S40W1
|
2033015
|
10
|
1158
|
1011
|
240
|
492
|
56
|
67
|
53
|
17,18,19,20
|
22
|
44
|
245
|
|
ME10D30S1
|
2033018
|
10
|
1008
|
861
|
138
|
392
|
56
|
67
|
53
|
12,13,14,15
|
22
|
44
|
108
|
|
ME10D30W1
|
2033021
|
10
|
1008
|
861
|
240
|
392
|
56
|
67
|
53
|
12,13,14,15
|
22
|
44
|
176
|
|
15 тонн
|
|||||||||||||
|
ME15S35S1
|
2033024
|
15
|
1058
|
911
|
138
|
442
|
56
|
67
|
53
|
14,15,16,17
|
22
|
44
|
109
|
|
ME15S35W1
|
2033027
|
15
|
1058
|
911
|
240
|
442
|
56
|
67
|
53
|
14,15,16,17
|
22
|
44
|
191
|
|
ME15S40S1
|
2033030
|
15
|
1158
|
1011
|
138
|
492
|
56
|
67
|
53
|
17,18,19,20
|
22
|
43
|
134
|
|
ME15S40W1
|
2033033
|
15
|
1158
|
1011
|
240
|
492
|
56
|
67
|
53
|
17,18,19,20
|
22
|
43
|
258
|
|
ME15S45S1
|
2033036
|
15
|
1218
|
1071
|
138
|
542
|
56
|
67
|
53
|
19,20,21
|
22
|
43
|
148
|
|
ME15S45W1
|
2033039
|
15
|
1218
|
1071
|
240
|
542
|
56
|
67
|
53
|
19,20,21
|
22
|
43
|
279
|
|
ME15D35S1
|
2033042
|
15
|
1058
|
911
|
138
|
442
|
56
|
67
|
53
|
14,15,16,17
|
22
|
43
|
108
|
|
ME15D35W1
|
2033045
|
15
|
1058
|
911
|
240
|
442
|
56
|
67
|
53
|
14,15,16,17
|
22
|
43
|
205
|
|
20 тонн
|
|||||||||||||
|
ME20S45S1
|
2033048
|
20
|
1291
|
1115
|
153
|
542
|
71
|
85
|
67
|
19,20,21
|
30
|
43
|
172
|
|
ME30S45W1
|
2033051
|
20
|
1291
|
1115
|
255
|
542
|
71
|
85
|
67
|
19,20,21
|
30
|
43
|
307
|
|
ME20S50S1
|
2033054
|
20
|
1369
|
1193
|
153
|
592
|
71
|
85
|
67
|
21,22,23
|
30
|
59
|
198
|
|
ME20S50W1
|
2033057
|
20
|
1369
|
1193
|
255
|
592
|
71
|
85
|
67
|
21,22,23
|
30
|
59
|
365
|
|
ME20D40S1
|
2033060
|
20
|
1236
|
1060
|
153
|
492
|
71
|
85
|
67
|
17,18,19,20
|
30
|
59
|
175
|
|
ME20D40W1
|
2033063
|
20
|
1236
|
1060
|
255
|
492
|
71
|
85
|
67
|
17,18,19,20
|
30
|
59
|
293
|
|
ME20T35S1
|
2033066
|
20
|
1137
|
985
|
176
|
442
|
71
|
85
|
67
|
14,15,16,17
|
30
|
43
|
162
|
|
ME20T35W1
|
2033069
|
20
|
1137
|
985
|
278
|
442
|
71
|
85
|
67
|
14,15,16,17
|
30
|
43
|
253
|
|
25 тонн
|
|||||||||||||
|
ME25S55S1
|
2033072
|
25
|
1421
|
1245
|
153
|
642
|
71
|
85
|
67
|
23,24,25,26,27
|
30
|
43
|
222
|
|
ME25S55W1
|
2033075
|
25
|
1421
|
1245
|
255
|
642
|
71
|
85
|
67
|
23,24,25,26,27
|
30
|
43
|
410
|
|
ME25S60S1
|
2033078
|
25
|
1481
|
1305
|
153
|
692
|
71
|
85
|
67
|
27,28,29
|
30
|
59
|
247
|
|
ME25S60W1
|
2033081
|
25
|
1481
|
1305
|
255
|
692
|
71
|
85
|
67
|
27,28,29
|
30
|
59
|
461
|
|
ME25D45S1
|
2033084
|
25
|
1291
|
1115
|
153
|
542
|
71
|
85
|
67
|
19,20,21
|
30
|
43
|
187
|
|
ME25D45W1
|
2033087
|
25
|
1291
|
1115
|
255
|
542
|
71
|
85
|
67
|
19,20,21
|
30
|
43
|
323
|
|
ME25D50S1
|
2033090
|
25
|
1369
|
1193
|
153
|
592
|
71
|
85
|
67
|
21,22,23
|
30
|
43
|
224
|
|
ME25D50W1
|
2033093
|
25
|
1369
|
1193
|
255
|
592
|
71
|
85
|
67
|
21,22,23
|
30
|
43
|
389
|
|
ME25T35S1
|
2033096
|
25
|
1137
|
985
|
176
|
442
|
71
|
85
|
67
|
14,15,16,17
|
30
|
43
|
162
|
|
ME25T35W1
|
2033099
|
25
|
1137
|
985
|
278
|
442
|
71
|
85
|
67
|
14,15,16,17
|
30
|
43
|
253
|
|
32 тонн
|
|||||||||||||
|
ME32S65S1
|
2033102
|
32
|
1678
|
1469
|
188
|
742
|
80
|
95
|
75
|
28,29,30,32
|
38
|
65
|
314
|
|
ME32S65W1
|
2033105
|
32
|
1678
|
1469
|
290
|
742
|
80
|
95
|
75
|
28,29,30,32
|
38
|
65
|
585
|
|
ME32D50S1
|
2033108
|
32
|
1442
|
1259
|
188
|
592
|
80
|
95
|
75
|
21,22,23
|
38
|
65
|
257
|
|
ME32D50W1
|
2033111
|
32
|
1442
|
1259
|
290
|
592
|
80
|
95
|
75
|
21,22,23
|
38
|
65
|
424
|
|
ME32D55S1
|
2033114
|
32
|
1492
|
1309
|
188
|
642
|
80
|
95
|
75
|
23,24,25,26,27
|
38
|
65
|
286
|
|
ME32D55W1
|
2033117
|
32
|
1492
|
1309
|
290
|
642
|
80
|
95
|
75
|
23,24,25,26,27
|
38
|
65
|
489
|
|
ME32T40S1
|
2033120
|
32
|
1303
|
1094
|
218
|
492
|
80
|
95
|
75
|
17,18,19,20
|
38
|
43
|
230
|
|
ME32T40W1
|
2033123
|
32
|
1303
|
1094
|
320
|
492
|
80
|
95
|
75
|
17,18,19,20
|
38
|
43
|
356
|
|
35 тонн
|
|||||||||||||
|
ME35D50S1
|
2033126
|
35
|
1442
|
1259
|
188
|
592
|
80
|
95
|
75
|
21,22,23
|
38
|
65
|
257
|
|
ME35D50W1
|
2033129
|
35
|
1442
|
1259
|
290
|
592
|
80
|
95
|
75
|
21,22,23
|
38
|
65
|
424
|
|
ME35D55S1
|
2033132
|
35
|
1492
|
1309
|
188
|
642
|
80
|
95
|
75
|
23,24,25,26,27
|
38
|
65
|
286
|
|
ME35D55W1
|
2033135
|
35
|
1492
|
1309
|
290
|
642
|
80
|
95
|
75
|
23,24,25,26,27
|
38
|
65
|
489
|
|
ME35T45S1
|
2033138
|
35
|
1333
|
1094
|
218
|
542
|
80
|
95
|
75
|
19,20,21
|
38
|
65
|
230
|
|
ME35T45W1
|
2033141
|
35
|
1333
|
1094
|
320
|
542
|
80
|
95
|
75
|
19,20,21
|
38
|
65
|
356
|
|
40 тонн
|
|||||||||||||
|
ME40T45S1
|
2033144
|
40
|
1325
|
1123
|
252
|
542
|
90
|
106
|
85
|
19,20,21
|
36
|
53
|
316
|
|
ME40T45W1
|
2033147
|
40
|
1325
|
1123
|
353
|
542
|
90
|
106
|
85
|
19,20,21
|
36
|
53
|
442
|
|
ME40T50S1
|
2033150
|
40
|
1375
|
1173
|
252
|
592
|
90
|
106
|
85
|
21,22,23
|
36
|
53
|
361
|
|
ME40T50W1
|
2033153
|
40
|
1375
|
1173
|
353
|
592
|
90
|
106
|
85
|
21,22,23
|
36
|
53
|
528
|
|
ME40Q40S1
|
2033156
|
40
|
1280
|
1078
|
319
|
542
|
90
|
106
|
85
|
17,18,19,20
|
36
|
65
|
343
|
|
ME40Q40W1
|
2033159
|
40
|
1280
|
1078
|
420
|
542
|
90
|
106
|
85
|
17,18,19,20
|
36
|
65
|
469
|
|
45 тонн
|
|||||||||||||
|
ME45T45S1
|
2033162
|
45
|
1325
|
1123
|
252
|
542
|
90
|
106
|
85
|
19,20,21
|
36
|
53
|
316
|
|
ME45T45W1
|
2033165
|
45
|
1325
|
1123
|
353
|
542
|
90
|
106
|
85
|
19,20,21
|
36
|
53
|
442
|
|
ME45T50S1
|
2033168
|
45
|
1375
|
1173
|
252
|
592
|
90
|
106
|
85
|
21,22,23
|
36
|
53
|
361
|
|
ME45T50W1
|
2033171
|
45
|
1375
|
1173
|
353
|
592
|
90
|
106
|
85
|
21,22,23
|
36
|
53
|
528
|
|
ME45Q45S1
|
2033174
|
45
|
1310
|
1108
|
319
|
542
|
90
|
106
|
85
|
19,20,21
|
38
|
65
|
359
|
|
ME45Q45W1
|
2033177
|
45
|
1310
|
1108
|
420
|
542
|
90
|
106
|
85
|
19,20,21
|
38
|
65
|
488
|
|
50 тонн
|
|||||||||||||
|
ME50T45S1
|
2033180
|
50
|
1412
|
1185
|
291
|
542
|
100
|
118
|
95
|
19,20,21
|
36
|
59
|
361
|
|
ME50T45W1
|
2033183
|
50
|
1412
|
1185
|
392
|
542
|
100
|
118
|
95
|
19,20,21
|
36
|
59
|
743
|
|
ME50T50S1
|
2033186
|
50
|
1462
|
1245
|
291
|
592
|
100
|
118
|
95
|
21,22,23
|
36
|
59
|
405
|
|
ME50T50W1
|
2033189
|
50
|
1462
|
1245
|
392
|
592
|
100
|
118
|
95
|
21,22,23
|
36
|
59
|
567
|
|
ME50Q45S1
|
2033192
|
50
|
1412
|
1185
|
319
|
542
|
100
|
118
|
95
|
19,20,21
|
38
|
65
|
390
|
|
ME50Q45W1
|
2033195
|
50
|
1412
|
1185
|
420
|
542
|
100
|
118
|
95
|
19,20,21
|
38
|
65
|
545
|
|
ME50QN45S1
|
2033198
|
50
|
1412
|
1185
|
532
|
542
|
100
|
118
|
95
|
19,20,21
|
38
|
65
|
578
|
|
ME50QN45W1
|
2033201
|
50
|
1412
|
1185
|
634
|
542
|
100
|
118
|
95
|
19,20,21
|
38
|
65
|
775
|
|
55 тонн
|
|||||||||||||
|
ME55T55S1
|
2033204
|
55
|
1512
|
1295
|
291
|
642
|
100
|
118
|
95
|
23,24,25,26,27
|
36
|
59
|
461
|
|
ME55T55W1
|
2033207
|
55
|
1512
|
1295
|
392
|
642
|
100
|
118
|
95
|
23,24,25,26,27
|
36
|
59
|
651
|
|
ME55Q45S1
|
2033210
|
55
|
1412
|
1185
|
319
|
542
|
100
|
118
|
95
|
19,20,21
|
36
|
59
|
390
|
|
ME55Q45W1
|
2033213
|
55
|
1412
|
1185
|
420
|
542
|
100
|
118
|
95
|
19,20,21
|
36
|
59
|
545
|
|
ME55QN45S1
|
2033216
|
55
|
1412
|
1185
|
532
|
542
|
100
|
118
|
95
|
19,20,21
|
38
|
65
|
578
|
|
ME55QN45W1
|
2033219
|
55
|
1412
|
1185
|
634
|
542
|
100
|
118
|
95
|
19,20,21
|
38
|
65
|
775
|
|
60 тонн
|
|||||||||||||
|
ME60T55S1
|
2033222
|
60
|
1512
|
1295
|
291
|
642
|
100
|
118
|
95
|
23,24,25,26,27
|
36
|
59
|
461
|
|
ME60T55W1
|
2033225
|
60
|
1512
|
1295
|
392
|
642
|
100
|
118
|
95
|
23,24,25,26,27
|
36
|
59
|
651
|
|
ME60Q45S1
|
2033228
|
60
|
1412
|
1185
|
319
|
542
|
100
|
118
|
95
|
19,20,21
|
36
|
65
|
390
|
|
ME60Q45W1
|
2033231
|
60
|
1412
|
1185
|
420
|
542
|
100
|
118
|
95
|
19,20,21
|
36
|
65
|
545
|
|
ME60QN45S1
|
2033234
|
60
|
1412
|
1185
|
532
|
542
|
100
|
118
|
95
|
19,20,21
|
38
|
65
|
578
|
|
ME60QN45W1
|
2033237
|
60
|
1412
|
1185
|
634
|
542
|
100
|
118
|
95
|
19,20,21
|
38
|
65
|
775
|
|
70 тонн
|
|||||||||||||
|
ME70T65S1
|
2033240
|
70
|
1750
|
1518
|
291
|
742
|
112
|
132
|
106
|
28,29,30,32
|
44
|
65
|
617
|
|
ME70T65W1
|
2033243
|
70
|
1750
|
1518
|
392
|
742
|
112
|
132
|
106
|
28,29,30,32
|
44
|
65
|
895
|
|
ME70Q60S1
|
2033246
|
70
|
1700
|
1468
|
371
|
692
|
112
|
132
|
106
|
27,28,29,30,32
|
44
|
65
|
694
|
|
ME70Q60W1
|
2033249
|
70
|
1700
|
1468
|
422
|
692
|
112
|
132
|
106
|
27,28,29,30,32
|
44
|
65
|
950
|
|
ME70QN45S1
|
2033252
|
70
|
1470
|
1228
|
532
|
542
|
112
|
132
|
106
|
19,20,21
|
38
|
65
|
657
|
|
ME70QN45W1
|
2033255
|
70
|
1470
|
1228
|
634
|
542
|
112
|
132
|
106
|
19,20,21
|
38
|
65
|
882
|
|
80 тонн
|
|||||||||||||
|
ME80T65S1
|
2033258
|
80
|
1750
|
1518
|
291
|
742
|
112
|
132
|
106
|
28,29,30,32
|
44
|
65
|
617
|
|
ME80T65W1
|
2033261
|
80
|
1750
|
1518
|
392
|
742
|
112
|
132
|
106
|
28,29,30,32
|
44
|
65
|
895
|
|
ME80QN45S1
|
2033270
|
80
|
1470
|
1228
|
532
|
542
|
112
|
132
|
106
|
19,20,21
|
38
|
65
|
657
|
|
ME80QN45W1
|
2033273
|
80
|
1470
|
1228
|
634
|
542
|
112
|
132
|
106
|
19,20,21
|
38
|
65
|
882
|
|
ME80QN50S1
|
2033264
|
80
|
1520
|
1288
|
532
|
592
|
112
|
132
|
106
|
21,22,23
|
38
|
65
|
723
|
|
ME80QN50W1
|
2033267
|
80
|
1520
|
1288
|
634
|
592
|
112
|
132
|
106
|
21,22,23
|
38
|
65
|
812
|